一、简介
SZS型蒸汽喷射加热器(Steam Jet Heater)使用蒸汽来加热水或其它液体。是水(特别是有腐蚀的液体、污泥水、地下水和未经处理的水)或其它液体的有效蒸汽加热设备。SZS型蒸汽喷射加热器是腾瑞石化设备应国内客户要求,作为进口替代产品开发设计制造的。已经在多个领域成功运行。
二、原理
蒸汽经高速喷射,带动液体向前流动并与之混合,实现加热目的。加热器引起的循环则确保了充分的混合。根据需要本设备可引入“空气”或 “惰性气体”使加热更加迅速,噪声更小。 |
图1 安装在水箱中的加热器的混合示意图 |
| 三、特点 |
A:特别适合于带有腐蚀性和磨损性的溶液和淤浆等流体的蒸汽加热。
B:适合蒸汽量大的场合和有腐蚀的场所。
C:无振动、无噪声,几乎能百分百地利用蒸汽热能,因而节能。
D:难堵塞、混合均匀、加热迅速、热效率高。
E:在水池中选用此型号加热器较其它任何加热器更节约、更节省。 |
| 四、应用 |
(1)化学液体等有腐蚀或含有有害物质的蒸汽加热。
(2)污水、地下水、未经处理的水或有一定浓度的液体的蒸汽加热。
(3)水池(或水槽、水罐)中的水或其它液体的蒸汽加热(蒸汽量大的场合)。
例如:化工厂、(氧化)铝厂、电厂、热电厂、污水厂、地下水供热、制药、化肥、纺织化纤等行业。 |
| |
 |
| 五、安装 |
| 一般安装在水池或水槽底部,也有管道安装的型号供选择。 |
 |
| 六、设计、订货须知 |
A:设计订货时,须向腾瑞石化设备提供以下技术参数,以便设计选择合理的加热器。
B:腾瑞石化设备可代您设计选型。
C:应提供的技术参数
(1)蒸汽压力(表压)和温度。
(2)加热液体(例如水)流量、起始温度和最终温度、加热时间。
(3)加热液体浓度、粘性、有无腐蚀成分,即应用场合。
(4)水池或水槽中使用还是管道连接,安装在水池中,应提供水池尺寸。
(5)是否有特别要求,即需引入“空气”或者“惰性气体”。
(6)材质等其它要求。 |
| |
| 七、技术参数表(表1、表2、表3) |
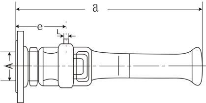
| A:SZS-B型蒸汽喷射加热器(法兰连接式)技术参数表(表1) |
型号 |
SZS-1B |
SZS-2B |
SZS-3B |
SZS-4B |
SZS-5B |
SZS-6B |
SZS-7B |
尺寸 |
A |
DN20 |
DN25 |
DN40 |
DN40 |
DN50 |
DN80 |
DN100 |
L |
R 1/8″ |
R 1/8″ |
R 1/4″ |
R 1/4″ |
R 1/4″ |
R 3/8″ |
R 3/8″ |
|
说明:此型号安装在水池或水槽中,A为进汽口,进汽口采用法兰连接方式,连接处尺寸“L”为“空气”或“惰性气体”接口尺寸。
|

(水箱中常选用SZS-B型作为蒸汽加热用) |
| |
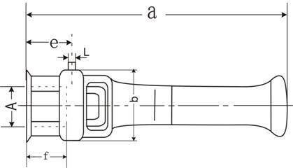
| B:SZS-C型蒸汽喷射加热器(全部法兰连接式)技术参数表(表2) |
型号 |
SZS-1C |
SZS-2C |
SZS-3C |
SZS-4C |
SZS-5C |
SZS-6C |
SZS-7C |
尺寸 |
A |
DN20 |
DN25 |
DN40 |
DN40 |
DN50 |
DN80 |
DN100 |
B |
DN25 |
DN40 |
DN40 |
DN50 |
DN80 |
DN100 |
DN100 |
C |
DN40 |
DN40 |
DN50 |
DN80 |
DN80 |
DN100 |
DN150 |
L |
R 1/8″ |
R 1/8″ |
R 1/4″ |
R 1/4″ |
R 1/4″ |
R 3/8″ |
R 3/8″ |
|
说明:
此型号可安装在管道中,也可安装在水池中,其中A为进汽口,B、C为进、出水口,“L”为引入“空气”或“惰性气体”接口。
|
 |
| |
| C:SZS-A型蒸汽喷射加热器(螺纹连接式)技术参数表(表3) |
| |
型号 |
SZS-1A |
SZS-2A |
SZS-3A |
SZS-4A |
SZS-5A |
SZS-6A |
SZS-7A |
尺寸 |
A |
R 3/4″ |
R 1″ |
R 3/2″ |
R 3/2″ |
R 2″ |
R 3″ |
R4″ |
L |
R 1/8″ |
R 1/8″ |
R 1/4″ |
R 1/4″ |
R 1/4″ |
R 3/8″ |
R 3/8″ |
|
说明:此型号安装在水池或水槽中,A为进汽口,“L”为引入“空气”或“惰性气体”接口。
|
|
 |